Novidades

Toyota abandona padrão ‘skate’ e registra patentes para revolucionar design de carros elétricos

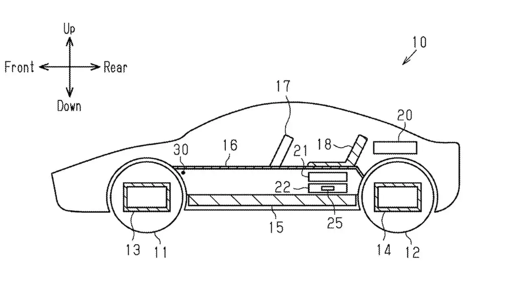
A proposta da Toyota consiste em fragmentar o sistema de propulsão, ou seja, distribuir seus componentes ao longo do veículo.

Toyota abandona padrão 'skate' e registra patentes para revolucionar design de carros elétricos

A Toyota registrou patentes que revelam uma nova arquitetura para seus futuros carros elétricos, sinalizando um movimento estratégico para abandonar o tradicional padrão “skate” que domina a indústria. Os documentos mostram que a montadora japonesa aposta na descentralização de componentes, como motores e unidades de potência, buscando aproveitar melhor o espaço interno dos veículos sem abrir mão da eficiência e segurança.

A iniciativa representa uma resposta aos desafios de design impostos pelos modelos atuais, que trazem a bateria instalada sob o assoalho do carro. A proposta da Toyota consiste em fragmentar o sistema de propulsão, ou seja, distribuir seus componentes ao longo do veículo. Na prática, o motor elétrico e a unidade de controle de potência formariam módulos independentes e flexíveis o suficiente para serem instalados à frente ou atrás da bateria. Desta forma, seria possível acomodar os componentes em menor espessura, dando mais liberdade para o projeto do interior do carro.

Benefícios da nova arquitetura

Ao fragmentar o sistema de propulsão em módulos independentes, a Toyota altera também a distribuição de massa — um fator extremamente importante nos carros elétricos, já que o peso tem influência direta na estabilidade e desempenho. Esta reorganização permite rebaixar o piso, ampliar o espaço interno e melhorar a dirigibilidade mais ágil e precisa.

O mais espaço livre se traduz em mais conforto para os passageiros, mas as vantagens não param por aí. A solução permite ainda ajustar melhor o porta-malas, adaptar a base do veículo para tipos de carroceria mais diversos e, finalmente, melhorar a gestão térmica e o isolamento de elementos críticos do carro. Outro benefício apontado é a eficiência energética: a nova organização reduz o comprimento dos cabos de alta tensão, economizando peso e otimizando o desempenho do sistema.

Detalhes das patentes e perspectivas futuras

Um detalhe curioso nos documentos de patente é a inclusão de um simulador de câmbio manual. A tecnologia, já testada em protótipos da Lexus, busca resgatar o prazer de dirigir para entusiastas, simulando trocas de marcha e o comportamento de um motor a combustão em um carro totalmente elétrico.

Vale ressaltar que, embora a Toyota seja experiente em sistemas elétricos com motores múltiplos, as patentes não indicam necessariamente garantia de aplicação direta nos modelos que vão ser produzidos. Mesmo assim, os documentos indicam quais são as prioridades de desenvolvimento da marca atualmente. A iniciativa sinaliza que a Toyota está empenhada em resolver um dos principais desafios estéticos dos elétricos: a falta de variedade em carrocerias mais baixas e esportivas. Se concretizada, a nova arquitetura pode marcar uma virada no design e na experiência de condução dos veículos eletrificados, devolvendo aos elétricos o perfil mais baixo e elegante de sedãs e hatchbacks esportivos.

Fonte: Canaltech

COMPARTILHE

Bombando em Tecnologia e Inovações

1

Tecnologia e Inovações

3 inovações tecnológicas que vimos no setor automotivo em 2025

2

Tecnologia e Inovações

BorgWarner Expansão: nova linha de turbos flex em Itatiba a partir de 2027

3

Tecnologia e Inovações

VW Gen.Urban: robotáxi autônomo da Volkswagen inicia testes em Wolfsburg

4

Tecnologia e Inovações

Porsche desenvolve sistema de reconhecimento de postura para liberar potência total dos veículos

5

Tecnologia e Inovações

BYD Denza entra no Brasil com modelos de luxo e tecnologia avançada